 产品简介
 产品简介
  WL系列立式排污泵采用大通道叶轮,具有无堵塞、抗缠绕、高效节能的特点,并进行型谱化设计,采用全新结构,借鉴潜污泵的成功经验,轴密封采用机械密封,无泄漏。泵与电机共轴,结构紧凑,便于维修。针对流量与扬程间的关系,优化了进、出水口径、转速等参数,运行更稳定、可靠。
  
 型号说明
 型号说明
 
 主要用途及使用条件
 主要用途及使用条件
  WL系列立式排污泵主要用于市政工程、工农业、医院、建筑、宾馆、饭店等行业,用于输送带有固体及各种长纤维的废水、城市生活污水和雨水、还包括原水的输送、水产养殖、灌溉等。(配以特殊材质,可用于有一定腐蚀性的介质场合。)
      
  使用条件
  1、 输送介质温度不超过+40℃;
  2、 输送介质PH值为4-10;
  3、 输送介质中的固相物的容积比在2%以下;
  4、 电压380V、50Hz(其它电压可按合同制造);
  
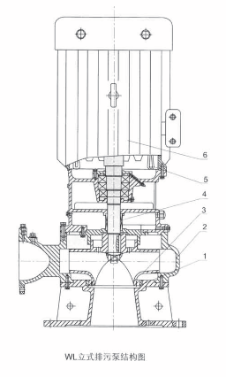
 结构说明
 结构说明
  WL系列排污泵为立式结构,泵与电机共轴,单级单吸蜗壳式排污泵。该系列泵安装简单,维修方便。泵的转向从电机端看为顺时针方向旋转。
  
|  |  1、 耐磨环泵壳和叶轮之间装有易于更换的耐磨环以保护叶轮。
 
 2、 泵壳为单蜗壳型,分布于叶轮周围收集液体。过流表面光滑,通道断面大,效率高,无堵塞。出口法兰上备有安装压力表的管螺纹孔,用户可在此安装压力表,以监视泵运行时的出水压力。
 
 3、 叶轮
 叶片式或流道式大通道叶轮,具有较强的抗缠绕和无堵塞性能,经过动平衡试验,运行平稳。扬程较高的泵,由叶轮后密封环等组成水力平衡机构,平衡轴向力,延长轴承、机械密封使用寿命。
 
 4、 轴密封
 采用机械密封,保证了泵在运行时无泄漏。
 
 5、 监测装置
 电机内装有温度探测元件,并输出信号。用户如有需求,可将此信号引入控制柜,对泵的运行情况进行监控、保护。
 
 6、 电机
 采用节能型三相异步电机。性能可靠。电机与泵共轴,结构紧凑,运行平稳,避免了因对中问题引起的振动、噪声。
 | 
  WL系列立式排污泵供货范围
 WL系列立式排污泵供货范围
  1、 立式排污泵由带加长轴的电机与水泵结合成为一整体,为必供件。其余为选购件、易损件,须用户订合同时注明。
  2、 选购件有:控制柜、拦污栅(其外形尺寸及安装尺寸由用户确定)、蝶(闸)阀、止回阀、截止阀液位开关、可挠性橡胶接管、地脚螺栓(一套)。
  3、 易损件有:叶轮、密封环、轴承、机械密封。
  
 订货须知
 订货须知
  1、 在合同中应注明准确的产品型号和产品名称、安装形式、性能参数(流量、扬程、电机功率)和使用电压。
  2、 控制柜应注明启动方式(直接启动、自耦降压启动、可控硅软启动)、液位控制方式(浮球液位、压力变送器数显液位)、安装形式(户外型、户内型)。
  3、 如需配端子箱,应注明是控制型,还是接线型。
  4、 在“供货范围”中需由用户确定的尺寸应及时提供。
  5、 如有其它特殊要求,签订合同前请与本公司销售部门联系。